
作者 | 何国胜
编辑 | 向现
开学半个月来,张岚的孩子在学校吃饭,基本是用汤拌着白米饭,“荤菜基本不动,偶尔吃点素菜,但也很寡淡”。
张岚说,自己孩子2025年9月进入上海市虹口区某中学,开学第二天回家,就说学校的午餐“没办法吃”。
这不是张岚孩子一个人的感受。9月以来,社交媒体上出现大量吐槽上海中小学食堂饭菜质量差的内容。
甚至在前几日,因预制菜风波而被群嘲的西贝餐饮,却被不少上海家长集体呼吁参与上海中小学食堂供餐的竞标。

今年8月,上海绿捷实业发展有限公司中标了上海22所中小学、职业技术学校的供餐服务或食堂餐饮服务项目 / 图源:天眼查
在这一反常态的呼声后不久,9月15日,上海市多区中小学学生家长反映,当天学生餐中的虾仁炒蛋“有臭味”,后被校方紧急撤回。
次日,涉事供餐公司上海绿捷实业发展有限公司(下称“绿捷公司”)回应称,有学校反映虾仁里有细沙,但不是所有批次都存在问题,也不存在别的食品安全问题。
这未能打消家长们的疑虑。
事发后,社交媒体上不少人反映,由绿捷公司和其他公司供餐的校园餐,长期以来存在菜品质量差、油炸食品过多、过多使用冷冻肉等问题,使得学生吃不饱、吃不好。
张岚说,她孩子目前所在学校的供餐单位就是绿捷。

上海绿捷公司门口 / 图源:上海法制报
据2024年的公开报道,绿捷公司业务覆盖上海全市16个区的500多所中小学、幼儿园,日供餐超过50万份。
另一上海家长李琳告诉南风窗,针对上海中小学生校园餐质量和绿捷公司供餐质量问题,他们近年来通过各种渠道多次反映,但一直未有实质改变。
9月18日,上海市教育委员会发布通报称,已对9月15日据反映存在问题的虾仁炒蛋菜品留样和原料送检,一周内将出具报告。

9月15日虾仁炒蛋被反映有问题后,上海教育委员会发文 / 图源:上海教育
此外,通报称,上海教委会进一步落实学校负责人陪餐制,发挥膳食监督家长委员会作用,增加菜品选择等,不断提高供餐质量,同时,会同相关部门,加大对学校供餐企业的监管力度。
01
“难吃的午餐”
张岚的孩子没吃到9月15日那批“有问题”的虾仁炒蛋,午餐发下来时,那道菜已被撤掉。
但在那之前的一段时间里,张岚晚上回家,几乎每天都听到孩子说学校的午餐很差,特别是其中的荤菜。
“上海现在是AB餐选餐,一餐18元。”张岚说,每次选餐时,她看菜单就觉得有些奇怪,“他们的荤菜基本都是鸭块、鸭翅等各种禽类的部位,而且都是冷冻肉”,然后就是一些油炸品,鸡排、鱼排。
张岚说,她孩子曾跟她形容,校园餐里的鱼排像那种不明的面团一样,浸满了油,还有一股腥气,“炸得硬硬的咬不动”。鸡排也吃不出什么鸡肉味,她怀疑是合成肉。

上海从2024年秋季开始AB餐选餐制,图为选餐系统页面 / 受访者供图
因此,她孩子每天在学校吃午餐,基本不动荤菜,多是用汤泡白米饭吃。“我们现在解决方案是每天给她带一点海苔拌饭料,拌到米饭里凑合一下。”张岚说。
李琳二年级的儿子跟张岚孩子一样,基本不吃学校午餐的荤菜,“平时就是喝点汤,吃几口白饭”。
李琳说,读幼儿园的时候,孩子在学校基本光盘,上了小学后就不肯吃了。她前两天查了下,儿子所在学校食堂的供餐单位是绿捷。
开学初,李琳儿子没说过饭菜的事,一两周后,每次下午放学回家都说肚子饿,“问了后就说学校饭菜太难吃了,而且有时候有怪味”。其中,“鸭肉一直有骚臭味”,李琳说。
9月15日那天,因为午餐中虾仁炒蛋被撤下,次日,学校给学生补发了面包和饼干。“孩子觉得很好吃,拿回来跟我们一起分享。”李琳说,但她一看,面包的配料表堪比“小作文”长度,添加剂多达十几种。

9月15日虾仁炒蛋被反映有问题后,第二天学校给学生补发面包的配料表 / 受访者供图
此前,李琳孩子所在学校家委会曾去绿捷公司实地看过,“用的都是一些冷冻肉、冷冻虾”,而且有些品牌的肉他们都没听过,在淘宝上也搜不到。
“我看外地的学校食堂,很多都是用鲜肉,很少用冻肉的。”李琳说。
周琴儿子所在学校不是由绿捷供餐,但她儿子在学校也不怎么吃饭,“孩子回家都说学校的午餐量少又难吃”。
之前有一次,周琴恰好有事到学校找老师,也想看看学校的饭菜。到学校正是午餐时间,她让老师把孩子叫到办公室吃饭。
“我亲眼看到他那天的荤菜是炸鱼块,鱼块只有我拇指那么点大,而且是薄薄的三片,不是块。”周琴说,她还跟孩子确认了一下有没有动过这个饭,他说还没吃。
“孩子吃了4年这种饭,亲眼看到还是蛮震撼的。”周琴说,孩子回家经常会说饭菜有异味,周末或假期去外面吃饭时,也会拿学校的饭菜做比较,比划学校的饭菜有多差。

上海某小学学生午餐餐食
在周琴的允许和陪同下,儿子小杰向南风窗回忆,他印象中为数不多觉得学校午餐好吃的,是饺子,但吃饺子的次数很少。此外,学校午餐还有肉条,但“吃肉条跟啃木头一样,都很干,哪怕泡了酱和汤也很干”。
饭菜不好,导致孩子们经常吃不饱。张岚说,她孩子每天放学回来就吃东西,“一个白水蛋、一个鲜肉月饼和一些水果”,接着晚上还正常吃饭。
李琳也知道孩子每天在学校吃不好,每次去接他放学时,都会带上点心。
02
“唯一的选择”
尽管对校园午餐的质量和口味有诸多不满,但对上海绝大多数中小学生而言,在学校吃午餐几乎是唯一的选择。
“上海这边的学生,中午没有时间回家,也不能自己带饭,都是在学校吃的。”张岚说,她孩子所在学校,学生们中午大概只有一个小时休息时间,其中半小时吃饭,另外半小时给学生听,或者老师进教室看管。
小杰也告诉南风窗,他们中午只有一小时休息时间。
“吃完饭后,要么是自习,要么是午休”,他说,不过现在午休变得很少,“二三年级的时候我们还有在睡觉的,现在已经没有了。”

9月1日,贵阳市实验小学未来方舟分校的学生走进校园 / 新华社记者陶亮 摄
午饭后的自习,名义上是自习,“实际上老师会点名叫我们去补作业、改作业或者是讲卷子”,小杰说。
但他觉得比较欣慰的一点是,“我们吃完饭至少还有10分钟上厕所时间”。
很多家长认为,这种紧迫的时间安排下,孩子没有可能回家吃午饭。不过,也有家长反映,就算学校允许回家吃饭,可能也没时间接送孩子。
自己带饭或家长送饭也不被允许。李琳告诉南风窗,学校禁止孩子带饭或家长送饭,除非是特殊情况,“比如身体不舒服、过敏或者是少数民族等情况”。

社交平台上有学生家长想要通过开过敏证明的方式让自己的孩子带饭 / 社交媒体截图
不过,近期家长反映过后,李琳孩子所在学校允许学生带些饼干。
小杰母亲周琴曾让孩子带饼干去学校,被老师发现后,她和孩子被学校、老师陆续批评教育了一周。她说,学校禁止外带食物和家长送餐,主要是担心无法保障食品安全。
而对于校园餐的问题,家长们并非没有反应。
张岚告诉南风窗,上海校园餐难吃、差的问题,已不是一两年的事,“说久一点,十几年都有了”。之前每年开学,家长们都对学校餐食有很大意见,也通过各种渠道反映、投诉,但各类投诉最终还是回到学校里处理。

校园餐难吃已经是长久的问题 / AI制图(诺言)
“学校来找家长谈,承诺会更用心做餐,或安排老师来陪餐。”张岚说,但这没有本质上的帮助,“因为承包公司给食堂提供的食材还是那些东西,做菜环节做得再好,学生们还是不吃”。
周琴说,学校确实有陪餐制,隔段时间会让家委会组织家长去学校跟孩子们一起吃饭。但她儿子告诉她,每次陪餐的时候,饭菜的质量都会比较好。
03
绿捷公司,频被质疑
多数上海家长在反映校园餐质量和安全问题时,都提到了绿捷公司。
这是一家成立于2014年的团餐企业,注册地址在上海市闵行区颛兴东路1158号,法定代表人为葛均锋。

上海绿捷实业发展有限公司注册信息 / 图源:爱企查
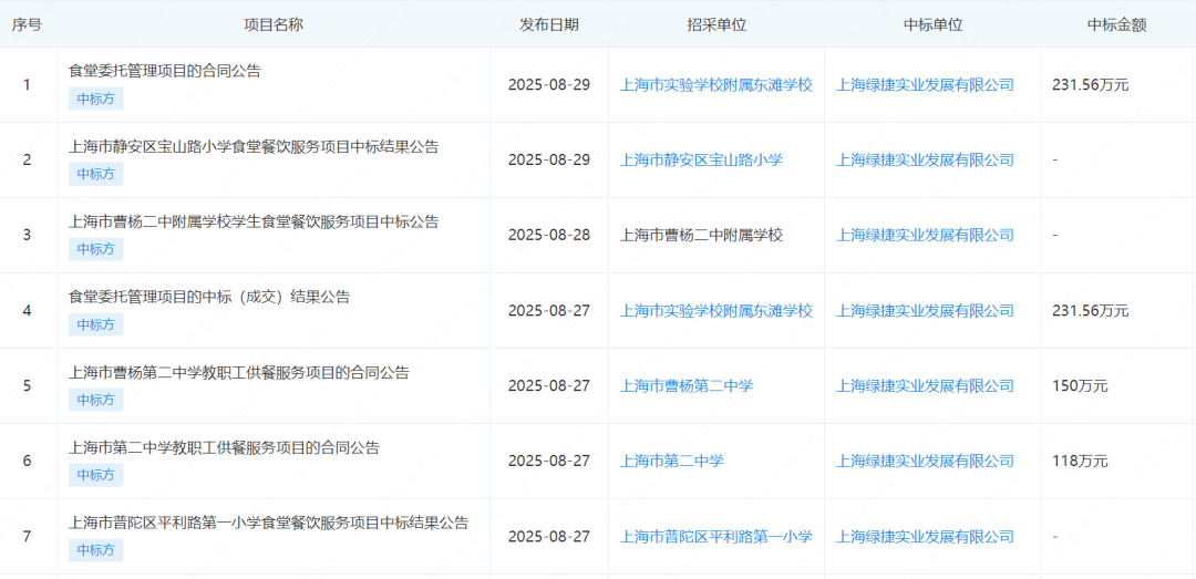
绿捷公司在上海各中小学食堂招标中,表现亮眼。企查查信息显示,2025年1月以来,该公司有101条中标记录,其中仅8月份就有70条中标记录,覆盖20余所学校。
多份中标公告中的推荐理由为:评审小组根据投标人递交的投标文件进行综合评审,上海绿捷实业发展有限公司综合得分第一。
尽管上海市不少学生家长对绿捷颇有质疑,但绿捷在多年来获得不少荣誉:上海市名牌企业、上海市著名商标企业、中国团餐百强企业、全国商业质量奖获奖单位、“大上海保卫战”突出贡献单位等。
此外,“绿捷食品”还获评全国中小学生营养餐领域代表品牌,并在第三届全国团餐大会中获得最高奖项“特金奖”。
多位学生家长向南风窗表示,他们多年来多次向学校和有关部门反映过由绿捷承包的学校食堂饭菜差的情况,但每次在学校认真表态过后,并无实际改变。
根据企查查信息,绿捷公司当前董事长为陶煦,名下控制企业10家,在外任职企业23家(其中10家企业已注销或吊销)。股权结构上,绿捷目前由香港一家私人股份有限公司GreenExpress Foods, Limited完全控股。

绿捷目前由香港GreenExpress Foods, Limited完全控股 / 图源:爱企查
财新报道显示,该香港公司三名董事分别为张天笠、王航、陈云仪,三人同时在厚生投资任职。
厚生投资创立于2010年,是中国专注食品消费市场的私募股权投资机构,其委派代表王航,还兼任新希望集团副董事长。
此外,还有家长向南风窗表示,为绿捷公司提供食品检测服务的公司——品测(上海)检测科技有限公司(下称“品测公司”),似与绿捷公司关系密切。
公开信息显示,品测公司成立于2014年,是一家第三方检测技术服务公司,主要承担上海市场监督管理局等政府职能部门下达的产品质量监督抽检、风险监测、专项抽检等检测任务,并对上海市中小学营养午餐原材料中的农残、兽残、毒素进行快速检测。

品测(上海)检测科技有限公司注册信息 / 图源:爱企查
根据企查查,品测公司注册地址跟绿捷公司相近。此外,绿捷公司在2018年曾是品测公司唯一的控股股东,但在短暂控股一个月后就退出。
不过,在2023年、2024年上海市闵行区区长和区市场监督管理局副局长先后两次的走访调研中,绿捷和品测均被同时提及。
其中,2023年2月,在闵行区市监局副局长走访调研两家公司后的座谈中,品测公司负责人提到,品测的成立与绿捷餐饮实现了优势互补。
此外,上海市长青学校和普陀区金沙江路小学公众号文章显示,两校分别在2024年4月和今年5月组织家长代表到绿捷公司实地考察。长青学校公众号文章提到,“在企业工作人员的带领下,家长代表们首站参观了绿捷公司旗下的品测安全检测中心”。

家长参观品测安全检测中心 / 图源:上海普陀区金沙江路小学
金沙江路小学文章则显示:活动首站来到绿捷食品的合作伙伴——品测检测公司。这里是每一批食材进入加工流程前的“安全哨所”。
不过,据天眼查,品测公司176个客户名单中,并无绿捷公司,多数为上海市各中小学和各区市监局、农业农村委员会。
9月19日,南风窗记者拨打绿捷公司和品测公司在工商登记信息中公开的电话号,均无人接听。
截至发稿,官方调查结果仍未出具,相关情况仍需进一步通报披露。
04
“不是很难的事情”
除家长关心外,近两年来,校园餐质量和安全事件较多,国家层面对校园餐也格外重视。
今年2月,教育部在春季学期开展部署2025年“校园餐”管理重点任务,教育部相关负责人表示,今年将深化“校园餐”专项整治,其中紧盯食材采购、配送、查验、贮存、加工制作等关键环节和强化督学监督,畅通师生意见反映和投诉机制。
5月,教育部办公厅发布“关于开展基础教育规范管理提升年行动”的通知,其中提到要深化整治中小学“校园餐”。
最新的变化是,从今年12月1日起,《校园配餐服务企业管理指南》(以下简称《指南》)将正式实施。这是国家市场监管总局推出的首个专门针对校园配餐的国家标准。

这份《指南》适用于为中小学、幼儿园学生餐制备及配送服务的餐饮服务经营者参考 / 图源:《校园配餐服务企业管理指南》
《指南》适用于为中小学、幼儿园学生餐制备及配送服务的餐饮服务经营者,校园自建食堂、学校食堂分包商或承包商不在范围之内。
《指南》对校园餐的食谱选择、原料采购、验收、加工制作和备餐配送等全链条给出了规范化指引。
比如《指南》要求企业配备“互联网+明厨亮灶”相关设施设备,并向学校、家长和学生公开展示食品经营关键操作过程;同时建立、落实反馈整改和投诉处理机制,公开和及时处理学校、家长与学生的反馈与投诉。
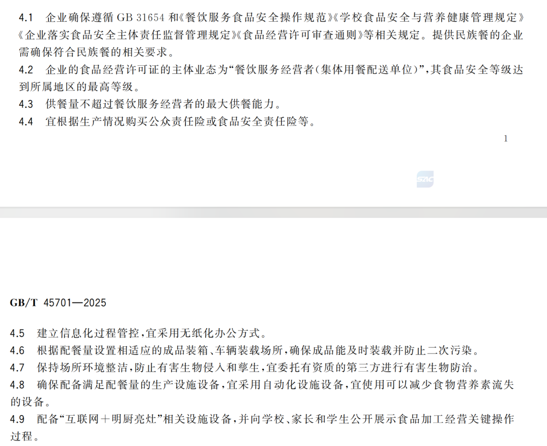
此外,值得注意的是,《指南》在附录A慎用慎供食品的其他注意事项中提到:慎用冷冻肉制品、油炸品以及香肠、火腿等加工肉制品,宜尽量采购新鲜肉制品。

《指南》中提及的慎供食品品种 / 图源:《校园配餐服务企业管理指南》
张岚等受访家长们认为,此次上海校园餐引起广泛关注,或许是一次机会,他们希望可以借此机会真正改善孩子们的餐食质量。
李琳说,她的要求不高,上海作为国际大都市,希望上海的校园餐能和北京、广东等地对齐,“给孩子们吃正常的饭菜,别那么多冷冻品,多点鲜肉和绿叶蔬菜”。
周琴觉得,“学校的领导和老师跟孩子们一起吃同样的就行了,很简单”。她说,之前因为工作原因经常出差,到过各地机关单位的食堂吃饭,“随便一个小的地方的机关食堂都可以弄得很丰盛,所以我觉得学校食堂弄得正常一点,不是很难的事情”。
(应采访者要求,文中人物为化名)
-END-
值班主编 | 张来
排版 | 诺言