据报道,有游客游览陕西省咸阳市乾陵景区时,发现武则天无字碑上方建起一座亭子。
陕西省咸阳市乾陵管理处工作人员回应媒体,这个亭子并非随意加盖,而是出于对无字碑的全面保护考虑而专门修建的。关于亭子高度问题,工作人员说,“从前几年就开始推进这个事,今年年初才建成落地,因为碑体本身很高,有7.53米,所以大家从底下看上去亭子离碑很近,其实亭子距离碑顶还有2米左右。”
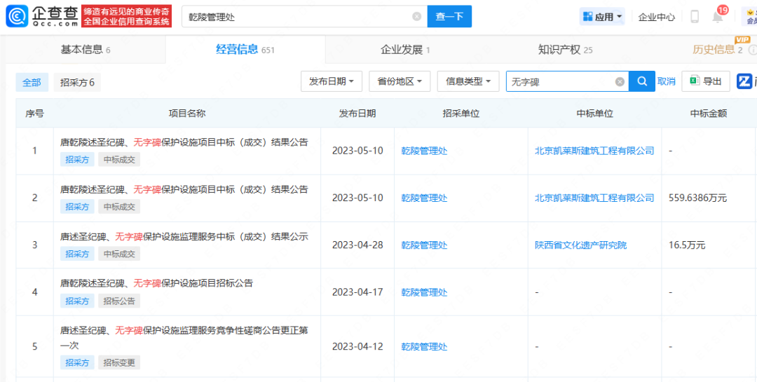
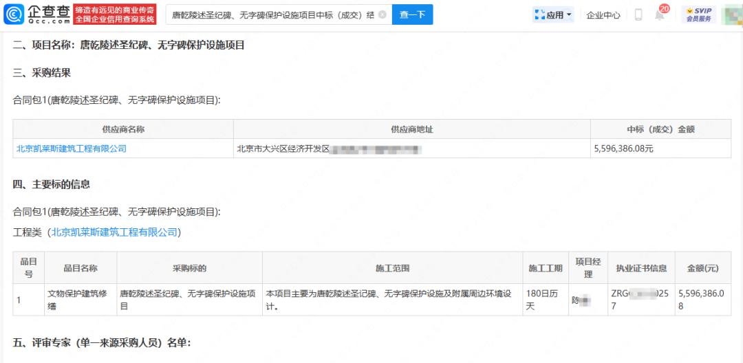
企查查APP显示,乾陵管理处曾对唐乾陵述圣纪碑、无字碑保护项目进行招标。其中,陕西省文化遗产研究院中标项目监理服务,北京凯莱斯建筑工程有限公司以559.6386万元中标保护设施项目。据悉,后者所中标品目名称为文物保护建筑修缮,施工范围包括唐乾陵述圣记碑、无字碑保护设施及附属周边环境设计。


来源:大象新闻
广州日报新花城编辑:赵小满