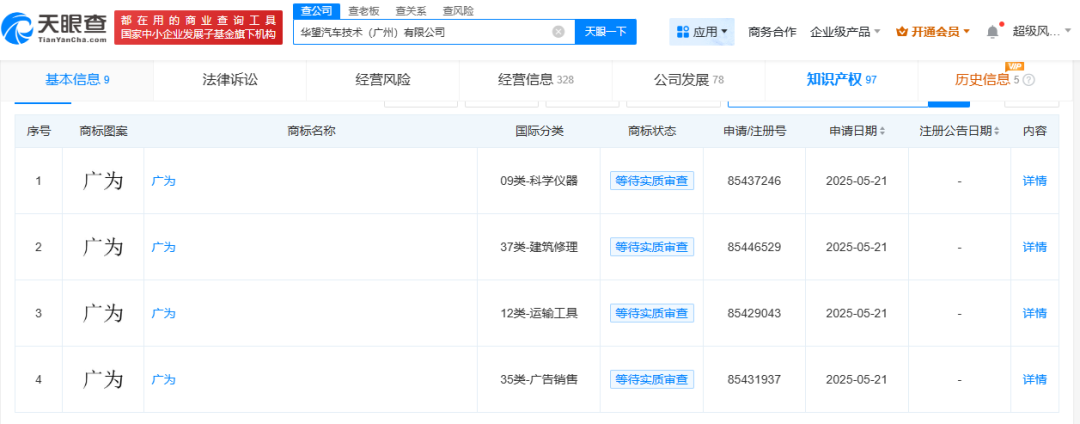
天眼查App显示,近日,华望汽车技术(广州)有限公司申请注册多枚“广为”“启境”“至境”“元方”等商标,国际分类涉及运输工具、科学仪器、广告销售等。
华望汽车技术(广州)有限公司成立于今年3月,法定代表人为閤先庆,注册资本15亿元人民币,由广汽集团(601238)全资持股。据报道,该公司为广汽集团与华为合作公司,近日开启大规模招聘。

文、图/广州日报新花城记者:周伟力
广州日报新花城编辑:麦晓颖
天眼查App显示,近日,华望汽车技术(广州)有限公司申请注册多枚“广为”“启境”“至境”“元方”等商标,国际分类涉及运输工具、科学仪器、广告销售等。
华望汽车技术(广州)有限公司成立于今年3月,法定代表人为閤先庆,注册资本15亿元人民币,由广汽集团(601238)全资持股。据报道,该公司为广汽集团与华为合作公司,近日开启大规模招聘。

文、图/广州日报新花城记者:周伟力
广州日报新花城编辑:麦晓颖