
作者 | 南风窗记者 闰然
编辑 | 江江
一场百亿非法集资案受到巨大关注。
近日,上海北广投资管理有限公司(简称“北广投”)非法集资案在上海黄浦区人民法院一审公开开庭审理。
该案涉及金额非常高——2018年6月至2022年11月的四年多内,涉嫌非法吸收公共存款金额累计达到300余亿元,事发时未兑付金额有130余亿元。同时据财新报道,这一案件中,非法集资的资金有部分流入了两家新能源车企:万象汽车63亿元、爱驰汽车15亿元。
130亿元,这一数字深深刺痛了每一个投资者。
而这背后有一个名字、一位曾被称赞年轻有为的浙江台州“85后”创二代——陈炫霖。
从股市暴富到激进造车,陈炫霖终在资本市场折戟。跑路的老板,被骗的韭菜,这场非法集资案也将“伪金交所”这一乱象,更直接地曝光在了镁光灯之下。
01
潜逃,爆雷
北广投到底是一家什么样的公司呢?
它其实就是一家所谓的财富管理公司,以固定支付年化10%左右收益率并提供担保,并设定了50万的最低投资门槛。

而他们的狩猎方式很传统,通过各种渠道包装,将产品营造得非常有实力,以拨打电话、口头宣讲、投测会、宴请等为主,向社会不特定公众进行宣传推销。
资料显示,2018年6月至2022年11月,北广投公司人员未经国家主管部门许可,通过下属三个财富中心分设于上海、杭州、北京等十多个城市的分支机构的业务员,将非法集资的“黑手”伸向了公众的腰包。
有不少人被迷惑,心甘情愿签订了认购协议,购买相关理财产品。
北广投实控人叫周敏。资料显示,周敏有着10年外资银行工作经验,曾于苏格兰皇家银行、星展银行等知名金融机构负责零售业务,自2015年接任北广投董事长。
周敏曾在一篇2018年时的自媒体专访中直言,“北广集团并不是普遍意义上理解的三方财富管理机构”“为实体资产的流动性做支持”。

财富公司背后的股东背景是实体企业,他们为股东方提供金融服务,说直白点,就是实体企业用来给自己的主营业务融资。这曾在地产行业很常见,比如绿城、绿地和恒大等。
北广投后来延期的股权和债权产品,直接或间接投资的正是与浙江“85后”创二代陈炫霖密切相关的爱驰集团、广微集团,以及万象公司。
在那篇周敏的专访中,他还特意提到了北广集团在很多城市拥有知名物业,对他们在当地建立并发挥品牌效应非常有帮助。
比如,有“西南第一楼”之称的重庆塔,就是他们股东的资产。广微控股正是通过重庆广微置业有限公司来运作重庆塔。但我们知道,北广投曾发行多个产品输血重庆塔项目,这项目却一波三折,已经烂尾多年。

渝中区视角的重庆塔效果图。重庆塔曾用名“重庆101大厦”,建筑高度431米/图源:伍兹贝格(Woods Bagot)
最终,一系列链条都指向了当时风头无两的陈炫霖——募集到的资金通过相关清算中心专用账户等方式分别转入陈炫霖等人控制的项目方公司账户资金池,为他们缔造了这个虚假的财富大厦。
事发时,未兑付金额还有100余亿元,已知部分金额分别流向了广微控股45亿元、万象汽车63亿元、爱驰汽车15亿元。
而如今,这场非法集资案件的关键人物陈炫霖,早已不见踪迹——这位来自浙江台州的年轻商人,在2022年11月事发前已经潜逃国外。
现在来看,这是一场早有预谋的出逃,因为它正是此事事发的导火索。
据了解,北广公司爆雷于2022年11月26号。当时,北广投发布的公告函写得很直白,称产品不能兑付,原因在于“个人”。

2022年11月,北广投发布公告函显示,“现广微控股、爱驰汽车实控人陈炫霖个人原因,引发融资方经营管理出现不确定性,部分产品本金、利息未按期兑付。”
“现广微控股、爱驰汽车实控人陈炫霖个人原因,引发融资方经营管理出现不确定性,部分产品本金、利息未按期兑付。”
02
造车,输血
陈炫霖是谁呢?
他被称作“隐秘的富二代”,其创业之路看上去颇为顺利。
多篇报道援引陈炫霖曾接受一家杂志专访内容,将他的炒股暴富的故事描述得很传奇。
陈炫霖早年被父母送到英国留学攻读会计专业,因为看好国内股市,2006年仅19岁的陈炫霖回国,说服父母借来可观的资金,进入股市炒股。而在2007年中国迎来大牛市,股市一路暴涨到历史性的6000多点,炒股在当时成为了一场全民参与的疯狂游戏。陈炫霖精准地洞察股市,就在这短短一年时间,赚到了惊人财富。
当然了,这当中被质疑有“自我包装”的成分,毕竟,不差钱又有头脑的人设在商场上可谓是获得信任的基础。
另有报道称,其父陈勇也极其低调,此前是浙江中通控股集团有限公司的实控人,这家公司曾是当地最大的汽车经销集团。
关于后来的广微控股,还有一种广为流传的说法是,陈勇通过资本运作“输血”支持的,并非仅靠陈炫霖自己炒股。
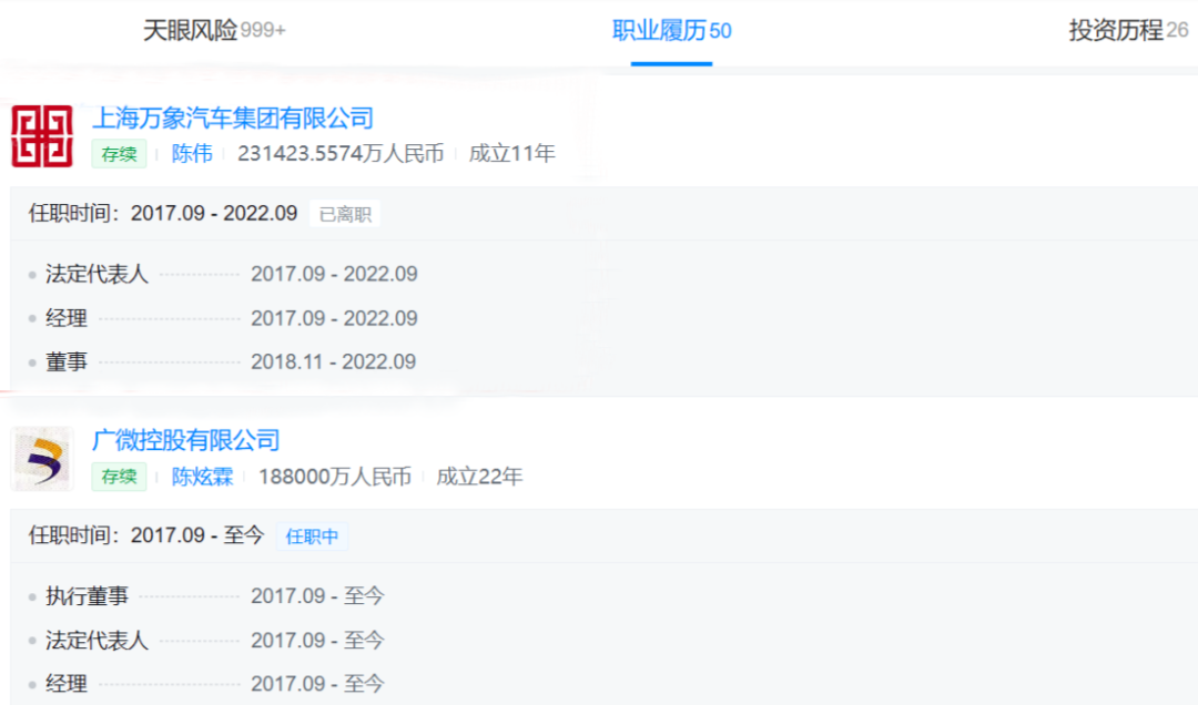
2017年9月,陈炫霖转向产业投资,同时迎来了重要的身份转变——成为广微控股实控人。正是这一年,广微控股宣布并购上海万象汽车,这家成立于1985年的老牌客车制造商。

陈炫霖部分职业履历/图源:天眼查
2019年时,陈炫霖就曾表示,“我们想利用2—3年的时间,在新能源客车、出口海外客车、新能源物流车及军民融合车辆等四大类产品系列达到年销售台数5000台以上,年销售收入50亿,跻身国内商用客车一线厂家”。
同样是2019年,广微控股宣布与中民航旅签订合作协议,并购亚联公务机有限公司,这标志着广微控股正式进军航空产业及相关服务领域。当时的广微控股,在已有的汽车制造与商贸产业链、船舶制造与运输的基础上,可以说是实现了交通运输领域的“陆海空”全覆盖。
陈炫霖的财富值水涨船高,气焰日盛,人设也立得很稳。
到了在2020年,陈炫霖家族以172.0亿元身家财富,排在《2020新财富500富人榜》第173位,排在曹德旺家族的前面一位。
当时榜单上显示的主要公司为广微控股,其涉及的主要行业为汽车、高端精密制造、通航、基建、地产。广微控股已然成为一家多元产业投资集团,拥有多家境内外上市公司和60多家控股、参股公司。

但陈炫霖很快就从巅峰跌落了。
前面我们提到过,实体企业用财富管理公司来给自己的主营业务融资,这一举动在地产界很常见,但在新能源汽车行业却是鲜有的。而陈炫霖流向万象汽车和爱驰汽车的金额,分别为63亿元和15亿元。
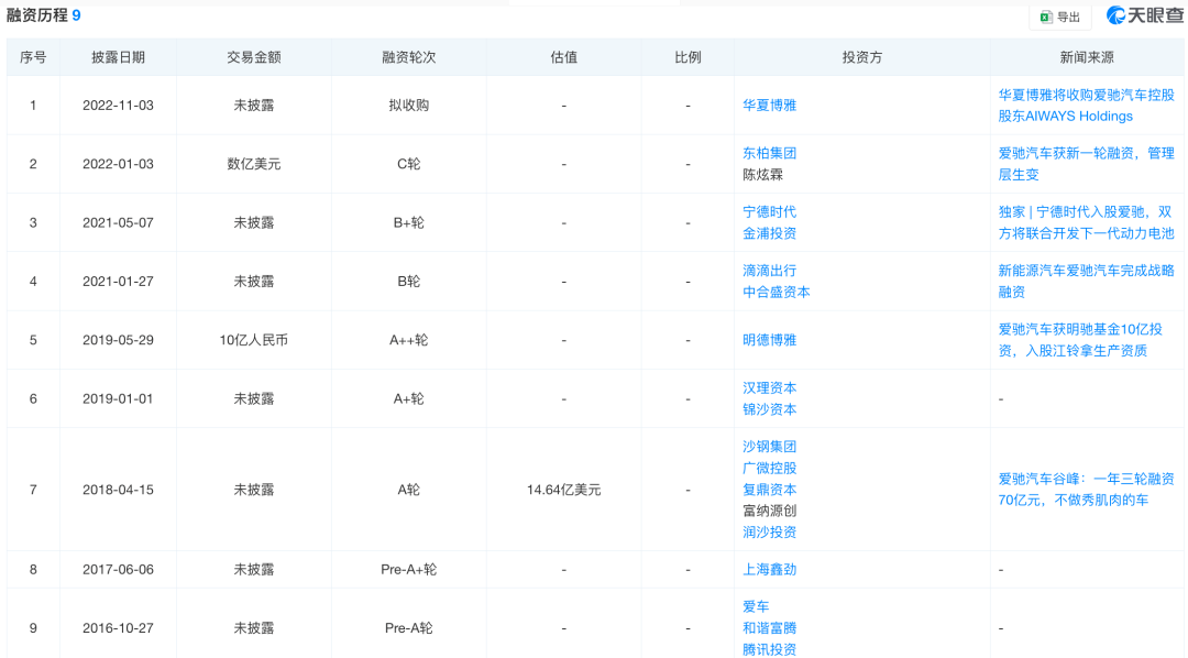
成立于2016年的爱驰汽车是国内较早成立的造车新势力品牌之一,公司成立当年,爱驰便在江西上饶投资建厂,已顺利通过了融资9轮,投资方中不乏腾讯、宁德时代、滴滴出行等知名企业。

爱驰的创始团队成员几乎都有传统车企背景,联合创始人付强更是履历光鲜,曾先后在一汽-大众、北京奔驰、沃尔沃汽车(中国)等车企任职高管。当时,资本疯狂涌入新能源汽车赛道,陈炫霖也从2017年起就开始投资爱驰汽车。
2019年12月,爱驰旗下首款车型U5上市。但很遗憾,这款车型销量不佳,加上新能源汽车市场的竞争加剧,给车企带来了巨大的压力。据乘联会数据显示,爱驰2020年共交付2600辆,2021年共交付3011辆,2022年为4626辆。

第23届成都国际汽车展览会,爱驰汽车展台/图源:爱驰汽车官微
销量不佳也致使爱驰汽车连年亏损,在2020年、2021年净亏损分别有15.97亿、16.23亿。彼时的爱驰,举步维艰。
03
关停,落幕
每一个环节都需要巨额的投入,资金链极其紧绷的爱驰只能依靠外部融资。在此背景下,陈炫霖及其旗下东柏集团于2022年向爱驰汽车注资数亿美元。
公开资料显示,陈炫霖出手注入大笔资金,其中14亿资金的来源,正是东柏集团通过北广投发行的“'爱驰汽车'直接融资计划系列产品”1-8号直接融资,爱驰涉及北广投非法集资案的部分就在于此。
2022年7月19日,爱驰还经历了一波高层“动荡”,完成了法人代表等事项的工商信息变更,其创始人付强不再担任法人代表、董事长,由陈炫霖接任,付强则从董事长转任为公司总裁。

爱驰工商信息变更后的核心管理层
紧接着,爱驰携旗下第二款量产车型纯电智能轿跑SUV爱驰U6,高调地出现在了《中国好声音》的舞台上,成为其特约赞助商。

爱驰U6/图源:爱驰汽车
不过,一系列动作后爱驰的经营情形也并未有所好转。陈炫霖担任爱驰董事长仅过了五个月就卸任了,并被曝出潜逃海外。爱驰随之陷入更大的资金、债务危机,停产、欠薪等问题也被一一曝出。
新能源车企烧钱又亏损,比拼的是耐力,是后续的运营效率、质量体系,是雄厚资本的持续支持。而对于依靠它的财富管理来说,资金的持续性必然是一个大问题。
想要依靠资本运作一步登天,大踏步迈过非法集资这道法律底线的人或企业,注定只能是昙花一现。
陈炫霖及相关公司已多次被强制执行,他本人也已2次被列为失信被执行人,并多次被限制高消费。
财新报道有关人士称,周敏和北广投公司在2018年前主要是做私募基金产品的,在2018年前后接触陈炫霖后才开始引入了“金交所+定融”这类业务。这类产品模式被指控涉及非法吸收公众存款罪。
什么是金交所?
金交所全称为“金融资产交易所”或“金融资产交易中心”,由国家金融监管部门或省政府审批通过,提供金融资产的挂牌、备案、交易等服务。
换句话说,金交所是为了解决中小企业融资难题。而“伪金交所”正是大肆利用了这一点,打着金交所的旗号,伪装成金融资产“登记结算服务公司”或“资产备案服务中心”等,野蛮生长。比如,北广投的员工就称备案机构为“金交所”,但实际上是没有资质的“伪金交所”,违规发行“理财产品”,存在极大的金融风险隐患。
早在两三年前,金交所定向债务融资计划、摘挂牌产品就被叫停。近期,多地集中发布了“伪金交所”清理工作的公告,并且全国接近一半的金交所已经被关闭。随着“伪金交所”整治清理正在加速推进,靠“伪金交所”搞钱的路子也被慢慢堵死。
也许陈炫霖的心思从来都不在造车上。
华丽外袍下,爬满了虱子——用这句话来形容陈炫霖一点都不夸张。
随着“伪金交所”落幕,陈炫霖们的资本故事走向“消亡”似乎早已注定。
文中配图部分来源于视觉中国,部分来源于网络
-END-
值班主编 | 黄茗婷
排版 | 风间澈