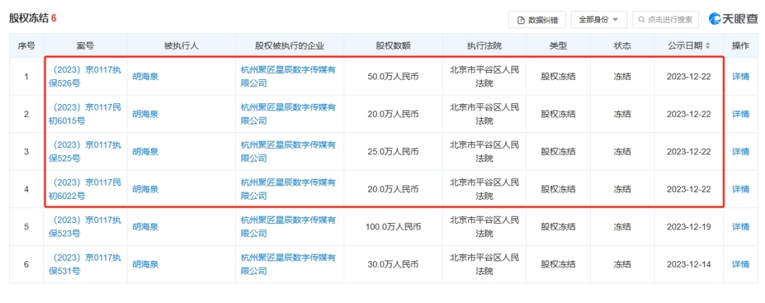
今日早间,#胡海泉再被冻结115万股权# #胡海泉陆续被冻结245万股权#登上热搜。天眼查App显示,12月22日,胡海泉新增4条股权冻结信息,股权被执行的企业均为杭州聚匠星辰数字传媒有限公司,冻结股权数额合计115万人民币,冻结期限自2023月12月22日至2026年12月21日,执行法院均为北京市平谷区人民法院。值得一提的是,不久前,胡海泉所持该公司130万股权已被冻结。

杭州聚匠星辰数字传媒有限公司成立于2020年6月,法定代表人、董事长为胡海泉,注册资本约544.69万人民币,由胡海泉、杭州聚匠星辰网络科技合伙企业(有限合伙)、北京独巨匠心信息技术发展有限公司等共同持股。其中,胡海泉为第一大股东,持股约45.9%,认缴出资额250万元。

来源:天眼查
头图来源:@胡海泉微博
广州日报·新花城编辑:刘成玉