
作者 | 宝珠
先有万达地产被列为失信被执行人,后有珠海万达商管第三次IPO失败——最近,王健林可谓诸事不顺,仿佛一脚踏入水逆周期。
可以说,王健林与整个万达商业帝国似乎进入了一种“时好时坏”的循环。今年的情况,也是如此。
这边,年初,“老王”刚重登中国地产首富宝座;那边,几个月后,万达系就挂上了“老赖”的名号。
如今,万达到底缺不缺钱,竟成为了一个巨大的谜。
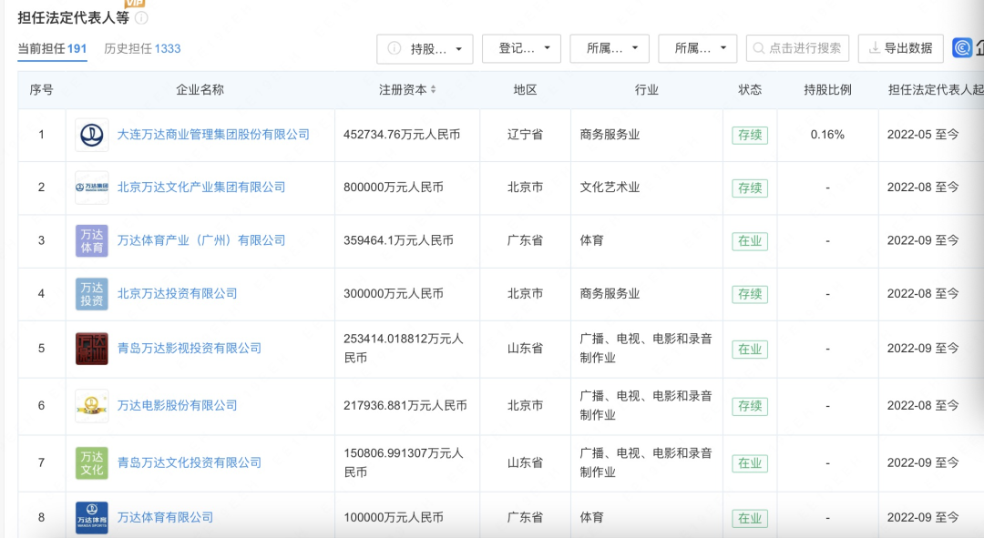
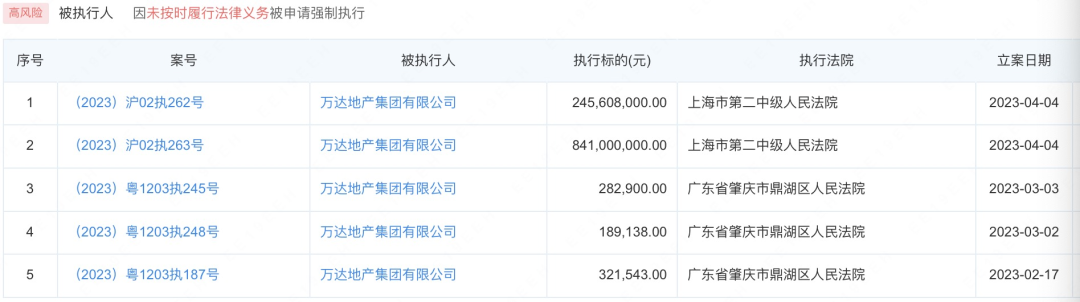
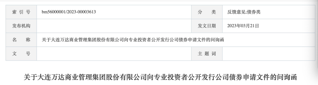
被执行十个小目标 一天之内,万达地产新增了两条被执行人信息。 根据中国执行信息公开网,4月4日,上海市第二中级人民法院两次将万达地产列为被执行人,执行标的分别为8.41亿元、2.46亿元。 不出一个月,4月20日,因“有履行能力而拒不履行生效法律文书确定义务”,万达地产从被执行人变为了失信被执行人,也就是大众口中俗称的“老赖”。 图源:中国执行信息公开网 怎么回事? 万达地产变老赖的起因,在于中华富星有限公司(下称“中华富星”)与万达地产之间的商业纠纷。 2020年,万达地产以10.56亿底价,包揽了4宗国有地块的姿态进入广东河源市,同时,还部分收购了当地一个原本由中华富星投资的项目:福新工业园。 由于万达的进入,这一项目的经营主体河源市福新创建有限公司(下称“福新创建”)发生股权变动,2022年7月,中华富星在福新创建的股份比例下降为10%,而90%的股份由万达地产旗下的一家全资子公司占有。 由于仲裁文件尚未在网上公开,万达地产与中华富星之间的具体矛盾不得而知。但从法院判决结果看来,万达地产在纠纷中属于应承担给付义务的一方,如今又成了拒不履约的一方。 由于万达地产被列为失信被执行人,万达地产原法定代表人张霖也被关联限制高消费。 巧合的是,就在张霖被限制高消费后不久的4月24日,张霖卸任万达地产董事长职务,黄国斌接任。而此前,万达地产的法人也由张霖变更为黄国斌。 根据公开资料,1972年出生的张霖是如今王健林身边为数不多的万达老臣之一。企查查显示,张霖目前仍在191家万达系企业中担任法定代表人,其中包括万达商管、万达体育与万达文化。 张霖目前在191家万达系企业中担任法定代表人(来源:企查查) 盐财经记者注意到,这不是万达地产今年第一次被列为被执行人。 今年2月到3月,万达地产因合同纠纷被分别强制执行32万、18.9万、28.3万,执行法院为肇庆市鼎湖区人民法院。 万达地产在今年以来已不止一次被列为被执行人 在万达“去房地产化”的背景之下,万达地产在公众视野中的声量并不突出。 2018年,万达核心业务万达商业完成房地产业务的剥离,改名为万达商管,宣布不再进行房地产开发,成为纯粹的商业物业持有者与运营管理者。而余下的房地产业务,由新成立的万达地产负责。 而今年以来,万达地产频频出质股权进行融资,或出手转让旗下公司。如2月出质天津红桥万达地产开发5100万元股权与兰州万达城开发7692.308万元股权,3月转让大连万佳企管100%的股份。 最近,市场甚至一度传出华润置地收购万达地产的消息,但已遭到华润方面的否认。 300亿元豪赌成败在此一举 在成立万达地产之时,王健林曾说,地产集团不追求销售额,为商管而存在。如今,万达地产频繁“搞钱”,未必表明是万达地产的自身业务出了问题。 这很有可能是一种“拆东墙补西墙”策略。 真正令王健林火烧眉毛的,另有其事。 4月25日,港交所披露显示,珠海万达商管招股书再次失效。这已经是珠海万达第三次寻求上市折戟。 万达方面回复媒体称,公司会尽快按照港交所要求更新提交申请材料,目前上市进展有序推进中。 珠海万达商管如此执着上市,是因为其直接关系着几百亿的撤资问题。 就在此前3月,证监会向万达商管集团发布问询函。这份问询函的内容透露,万达商管集团的子公司珠海万达商管正在港股寻求上市,如果2023年年底前无法上市成功,万达需要向上市前投资人支付约300亿元的股权回购款。 2023年3月21日,证监会向万达商管集团发布问询函 根据未来一件事情的结果来决定交易行为,这是一桩典型的高风险对赌协议。 可以说,珠海万达商管本身就是万达为了重回资本市场特意打造的纯轻资产商管平台。2021年,珠海国资入股珠海万达商管后,PAG、碧桂园、腾讯、蚂蚁、中信资本等22家机构接连投资珠海万达商管,一时间其估值高达1800亿元。 有关珠海万达商管的对赌协议也就此签下。 对赌协议主要有两条内容。一是万达商管承诺2021年至2023年实际净利润分别不低于51.9亿元、74.3亿元及94.6亿元;二是珠海万达需在2023年底前完成上市。 一旦未达成对赌协议中的要求,万达将要零对价转让有关数量的股份,或向投资者支付现金补偿。 假如对赌失败,万达如何能一下子偿付300亿股权回购款,是一个令人担忧的问题。 这些年,万达商管账上的余额不断下降。从2019年到2021年,货币资金余额分别为657.71亿元、414.97亿元、432.07亿元,到了2022年三季度,这一数字变为348.24亿元。 证监会的问询函显示,近三年及2023年一期,万达商管集团筹资活动产生的现金流量净额分别为-245亿元、-320亿元、-113亿元和-182亿元。 而短期内压在万达头上的还款压力还不小,今年又是万达偿债高峰的一年。根据媒体报道,万达商管有一笔4亿美元的美元债将在今年7月到期;境内债方面,根据DM查债通数据,万达2023年共有5笔债券到期,4笔债券行权到期,债券余额共计154.45亿元。 万达商管2023年境内债到期情况 因此,珠海万达商管是否能够顺利上市,事关重要。 前几年,恰逢物管公司上市高潮,然而2022年随着房地产市场的总体遇冷,物管板块也随之遇冷。珠海万达商管上市一波三折,艰难至此,这样的局面估计是当时从港交所任性退市的王健林所预料不到的。 2016年9月,万达商管的前身万达商业从港交所摘牌,距离其上市仅637天。而万达商业退市的原因无他:在港股中估值太低。 2014年12月23日上午,万达商业地产在港交所主板挂牌上市 当时万达官网上的一篇文章写到:“价值被严重低估,从万达股东角度出发,无论是万达的大股东和小股东,无论是从情感和理性上恐怕都难以接受。” 回望当时,王健林选择退市是有底气的。 2016年,王健林还是中国首富,万达仍然在海外一掷千金。这一年,万达收购了美国传奇影业公司与欧洲最大院线Odeon&UCI,计划在印度建造万达产业新城。 但一年后,随着对海外投资严格管控,万达一下子从“买买买”变成了“卖卖卖”。当时,主要接手万达资产的人有两个,一个是融创孙宏斌,一个是富力李思廉。 在2017年那场著名的“世纪交易”上,李思廉最终以189.5亿买下万达的73家酒店,孙宏斌以438.4亿收购了万达13个文旅项目的91%股权。 如今,融创与富力自身皆陷入债务泥淖。 2023年开年,原本对王健林来说还算友好,在《2022胡润百富榜》中,王健林以1000亿身家,重新回到地产首富的宝座。过去一年,他的地产同行们,确实过得并不轻松。 2022年胡润百富榜部分排名截图 事实证明,王健林身上的担子还没有卸下来。 今年1月,王健林将万达酒店65.04%的股份质押给淡马锡作为贷款担保;4月,万达投资多次减持万达电影,套现约9.53亿元。 有媒体报道,上周五,万达内部召开高管会议,王健林在会上称万达的困难是暂时的、阶段性的,并且表态:绝不躺平。 看来,年近70岁的王健林,未来仍要奔波在路上。 编辑 | 江江 值班编辑 | 日一 排版 | 林溪









