“赵薇关联香港公司已宣告解散”“赵薇接连退出多家公司”……8月27日晚间,诸多与赵薇相关的话题冲上微博热搜榜。27日晚间,记者在爱奇艺视频平台搜索关键词“赵薇”,平台显示:“由于相关法律法规和政策,部分结果未予显示。”而在微博搜索“赵薇超话”,也显示一片空白。有网友发出疑问,赵薇是不是被除名了?
赵薇遭“除名”,或与其商业行为有关。企查查显示,近日,赵薇70%控股的北京普林赛斯文化传播有限责任公司退出多家公司股东行列。
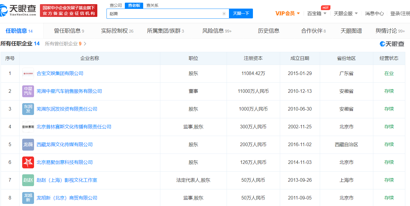
而在最近20年间,赵薇大举布局资本市场。截至8月27日,赵薇名下仍有8家存续企业,被冻结股权金额超1860万元。

还珠格格一举成名后次年即开启资本布局之路
1998年,随着电视剧《还珠格格》的播出,赵薇一举成名。而鲜为人知的是,这位在荧屏上大大咧咧的“小燕子”,在现实中有着颇为灵敏的商业嗅觉。

就在《还珠格格》播出的第二年,赵薇便成立了上海星星商务咨询有限公司,注册资本50万,赵薇担任法定代表人并持股46%,认缴金额23万元。公司经营范围为商务信息咨询,投资咨询,等,该公司于2005年10月被注销。
2002年,赵薇投资成立了北京普林赛斯文化传播有限责任公司,与其母魏启颖分别在该公司持股70%和30%,开始涉足影视策划和演出经纪业务。如2013年赵薇执导的电影《致青春》,普林塞斯便是投资方之一。
现有产业涉及多个板块 6家企业为注销或吊销状态
但赵薇的投资步伐并不仅限于影视领域。在此后的十余年间,她走出北京和上海,将资本版图拓展到安徽、浙江、西藏、香港等地,曾经在浙江唐德影视股份有限公司、浙江马云公益基金会等企业或机构有任职。

天眼查显示,截至8月27日,赵薇名下共关联14家企业,其中8家为存续状态,剩余6家企业的状态显示为注销或吊销。8家处于存续状态的企业分属于影视、汽车销售、投资、文化传播、科技、商贸等板块,其中赵薇持股超过50%的企业有5家。
值得注意的是,在8家状态为“存续”的企业中,有6家企业有股权冻结信息,包括芜湖东润发投资有限责任公司、合宝文娱集团有限公司、北京普林赛斯文化传播有限责任公司等,且被执行人均为赵薇,6家公司合计股权冻结金额合计超1860万元。
龙薇传媒涉及法律诉讼超500条 曾借壳上市失败
在赵薇名下的众多公司中,西藏龙薇文化传媒有限公司(下称“龙薇传媒”)此前“空手套白狼”借壳上市失败的经历,让许多人记忆犹新。
2016年12月,在龙薇传媒成立仅仅一个多月之后,宣布拟以30.6亿元收购上市公司万家文化29%股份。交易完成后,龙薇传媒将成为万家文化控股股东。
但值得注意的是,龙薇传媒自有资金仅有6000万元,用于收购的大部分资金系向金融机构借款而来,且部分是用拟收购上市公司的股份向金融机构作为质押融资。
2018年4月份,证监会发布公告,认为龙薇传媒在自身境内资金准备不足,相关金融机构融资尚待审批,存在极大不确定性的情况下,以空壳公司收购上市公司,贸然予以公告,对市场和投资者产生严重误导,且龙薇传媒关于筹资计划和安排的信息披露存在虚假记载、重大遗漏。因此证监会对黄有龙、赵薇夫妇分别采取5年证券市场禁入措施。

但借壳上市失败之后,龙薇传媒的法律纠纷并未减少,天眼查显示,截至8月27日,该公司涉及法律诉讼超500条,案由均涉及证券虚假陈述责任纠纷。
文/广州日报·新花城记者:王楚涵 见习记者 张文卓
广州日报·新花城编辑 钱佳芸