警惕丨老年人、大学生等4类人最容易被套路……
语音播报

想不到,金融素养较为薄弱的消费者群体竟然包括小微企业主、普通工薪阶层、老年人、大学生等4类人群。近期,部分机构均对金融领域的风险进行了提示,老友记的粉丝们不妨认真看看,谨防自己或者身边人中招哦……

提高警惕:老年人等4类人最容易被套路

2020年8月,利用周末广州购书中心人流量较大的特点,有金融机构在购书中心设立“维C行动”展位,为来往群众讲授金融素养相关知识。广州日报全媒体记者走进其中一问吓一跳,原来金融素养较为薄弱的消费者群体竟然包括小微企业主、普通工薪阶层、老年人、大学生等4类人群。

当前在普惠金融领域,消费者教育工作还在起步阶段。随着普惠金融向纵深化发展,其受众的普惠性、广泛性,更加反映出这个群体在金融消费者教育上的迫切性和紧急性。平安普惠广东分公司表示,加强金融消费者教育和保护工作是防范和化解金融风险的重要内容。

记者了解到,目前金融诈骗主要有4个类型,包括集资诈骗、保险诈骗、网络诈骗、电话诈骗等,其中老友们最容易中招的要数网络诈骗与电话诈骗。

图:冒充公检法实施诈骗。

火眼金睛:辨清冒充公检法诈骗的套路

网络诈骗即网络犯罪者借助网络、利用数字化工具,使用虚构事实或者隐瞒真相的方法,诱使网络使用者提供姓名、身份证号、信用卡号、银行卡号、网络密码或者其他私密信息,并利用这些私密信息进行诈骗或者其他犯罪活动,骗取财产的案件。

随着科技和经济的高速发展,电话诈骗现已蔓延全国,常见的诈骗手段多达几十余种,例如冒充公检法、虚假中奖、短信打款、电话欠费、购车退税等等。犯罪分子一般采用冒充国家机关工作人员、受害者的亲戚、同学或朋友,通过套话骗取受害者的信任,进而向受害者借钱或者转移财产至安全账户。

图:发短信骗取信任实施诈骗。

金融消费者是金融市场的重要参与者,也是金融业持续健康发展的推动者。平安普惠介绍,“维C行动”将面向金融消费者,尤其是低净值人群和广大网民,提供获取金融知识的途径和防范风险的技能,促进金融消费者能力提升。除在广州举办活动外,机构继续在全省推动金融消费者素养提升计划,在多地组织员工参与普及金融基础知识。

看清新招:“高利贷”新套路利率极高

图:谨防上当。

老友们手机上经常会接到现金贷的推广链接,打着 “无抵押、无担保、无利息”的幌子吸引人。不少老友点击借贷后,却掉进了“高利贷”的套路。律师忠告老友们,对于现金贷,千万别碰!千万别碰!千万别碰!

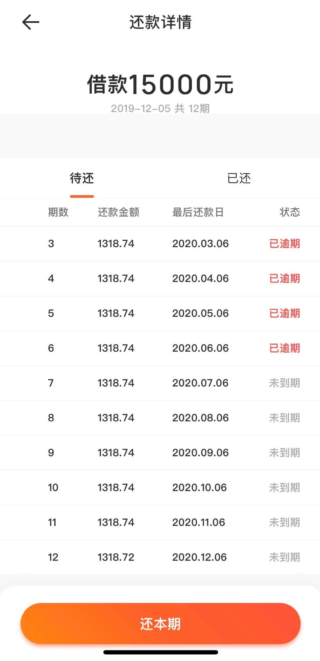
2019年12月5日,籍贯甘肃省榆中县的高飞龙通过某贷款超市APP申请了一笔15000元的贷款,约定共分12期还款。但让他想不到的是,噩梦在点击“确认”的那一刻就开始了。


图:高飞龙提供的还款截图。

高飞龙告诉记者,“贷款15000元放款后,在至今没有机会看合同的情况下,我发现第一期和第二期的还款金额均是3568.74元。这相当于头两个月就要还7137.48元。并且接下来10个月,利息仍然按照15000元计算,每期分别归还1318.74元。”

高飞龙提供的截屏显示,其于2020年1月6日和2月6日先后归还了3568.74元。疫情发生后,高飞龙丧失了稳定的收入来源,其主动和平台沟通,希望减缓还款,但是被平台拒接。高飞龙认为,该贷款的新套路就在于头两个月已经归还了大半本金!他找到了银行工作的朋友帮忙计算,结合头两个月就扣掉近一半的贷款额的情况,认为综合年利率高达78%,远高于国家36%的红线。

图:高飞龙提供的第二个还款截屏。

高飞龙于3月暂停归还每期1318.74元的还款任务。随之而来的是自称为平台催收人员无穷无尽的骚扰,“他们给公司、家人进行催收,严重侵扰了的我的正常生活。”

高飞龙的遭遇并非孤例,记者登录在黑猫、聚投诉等投诉平台看见,其中充斥着大量类似网贷的投诉。

律师支招:老友千万别借高利贷

广东环球经纬律师事务所律师彭玉华告诉记者,《最高人民法院关于审理民间借贷案件适用法律若干问题的规定》第二十六条规定,借贷双方约定的利率超过年利率36%,超过部分的利息约定无效。

最高法院还规定:各种以“利息”“违约金”“服务费”“中介费”“保证金”“延期费”等突破或变相突破法定利率红线的,应当依法不予支持。也就是说,最高法所说的利率红线是指包括了各种名义的收费加起来的综合利率。法律认为,“中介费”、“服务费”等等实际上是利息。

近年来,随着移动互联网的发展,小额现金贷兴起,随之而来的是超高利率、暴力催收、逼人跳楼等负面新闻,各现金贷平台年利率动辄50%~60%,有的超出正常贷款利率的几十倍,高达500%甚至1000%。这个时候,就需要用上述利率红线来规范现金贷平台的行为。


广州日报全媒体文字记者 刘幸 通讯员 叶苗
广州日报全媒体图片记者 杨耀烨(部分受访者提供)
广州日报全媒体编辑 刘幸